Apps About

B18 / B20 Torque Specs

The ultimate list of torque specs for B18A1, B18B1, B20B, B20Z2 engines. I made this list because I was tired of digging through the 94-01 Integra and 97 - 02 CRV factory service manuals to find them all.

Note: VTEC engines (B16A, B18C1, B18C5, etc…) have different specs and shouldn’t use this list!

Head

  • Cam gears: 27 ft-lbs
  • Valve lash adjuster: 18 ft-lbs
  • Valve cover nuts: 7.2 ft-lbs
  • Valve cover studs: 16 ft-lbs
  • Intake manifold nuts: 17 ft-lbs
  • Exhaust manifold nuts: 23 ft-lbs
  • Throttle body: 14 ft-lbs
  • IACV: 16 ft-lbs
  • FITV: 17 ft-lbs
  • Fuel rail: 9 ft-lbs
  • Distributor: 17 ft-lbs
  • Water outlet: 8 ft-lbs
  • ECT gauge sending unit: 7 ft-lbs
  • ECT sensor: 13 ft-lbs

Head Bolts

Must be torqued in two steps, and in the proper sequence. Apply engine oil to threads to ensure correct torque. Longer head bolts go in positions 1 and 2.

  • 1st step: 22 ft-lbs
  • 2nd step: 61 ft-lbs

See FSM page 6-28 for more info.

Cam Caps

No specific torque sequence but bolts should be tightened in two steps. Tighten caps evenly to prevent binding.

  • Torque spec: 7.2 ft-lbs

See FSM page 6-30 for more info.

Block

  • Timing belt tensioner: 40 ft-lbs
  • Crank pulley: 130 ft-lbs
  • Timing belt cover bolts: 7.2 ft-lbs
  • Water pump bolts: 8.7 ft-lbs
  • Oil pickup: 8 ft-lbs
  • Oil baffle plate: 8 ft-lbs
  • Oil pan: 9 ft-lbs
  • Oil drain plug: 33 ft-lbs
  • Oil pump m8x1.25 bolts: 17 ft-lbs
  • Oil pump m6x1.0 bolts: 8 ft-lbs
  • Rear main seal: 8 ft-lbs
  • Thermostat housing: 8.7 ft-lbs
  • Thermostat cover: 8 ft-lbs
  • Fan switch: 16-19 ft-lbs
  • Upper radiator outlet: 8 ft-lbs
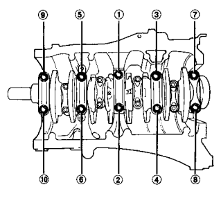
  • Crankshaft bearing caps: 56 ft-lbs
  • Connecting rod bolts: 23 ft-lbs

Main Caps

Must be torqued in two steps, in the correct sequence. Threads should have a light coating of oil applied to ensure proper torque.

  • 1st step: 22 ft-lbs
  • 2nd step: 56 ft-lbs

See FSM page 7-23 for more info.

Accessories

  • PS pump: 17 ft-lbs
  • PS pump bracket: 33 ft-lbs
  • Alternator bracket: 33 ft-lbs
  • Alternator top bolt: 17 ft-lbs
  • Alternator bottom bolt: 33 ft-lbs
  • AC compressor: 17 ft-lbs
  • AC compressor bracket bolts: 33 ft-lbs

Transmission

  • Bell housing bolts: 47 ft-lbs
  • Shift linkage bolt: 16 ft-lbs
  • Flywheel: 76 ft-lbs (Don’t use this if you have ARP bolts)
  • Pressure plate: 19 ft-lbs (Don’t use this if you have ARP bolts)
  • Slave cylinder: 16 ft-lbs
  • Starter: 33 ft-lb
  • Half shaft: 28 ft-lbs

ARP Bolts

References

94-01 Integra Factory Service Manual

  • Page 5-18 (Engine accessories)
  • Page 6-14 (Cam caps, cam gears)
  • Page 7-6 (Connecting rod bolts)
  • Page 7-23 (Main caps)
  • Page 7-24 (Rear main seal)
  • Page 8-3 (Oil pan, oil pump, pickup tube, baffle plate)
  • Page 9-2 (Intake manifold)
  • Page 10-5 (Thermostat)
  • Page 10-8 (Water outlet, water pump)
  • Page 11-105 (Fuel rail)
  • Page 12-3 (Flywheel, pressure plate)
  • Page 23-92 (Distributor)